
|
|
| Hubbell Wiring Device-Kellems Product
Specifications |
| Product Type |
Watertight Insulgrip |
| Body Style |
Straight |
| Material |
Insulated Metallic |
| Service |
Standard |
| Grounding Style |
II |
| Type of Device |
Plug |
| Amperage |
30 |
| Voltage |
250DC/600AC |
| Poles and Wires |
3 Pole, 4 Wire Grounding |
| Color |
|
| Configuration |
UL 1686 C1, Watertight |
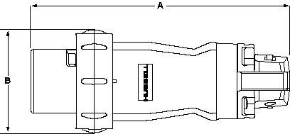
| Dimension A |
7.53" (191) |
| Dimension B |
3.00" (76) |
| Cord Grip Range |
.375"-1.20" (9.5-30.5) |
| Housing Material |
Valox 357 |
| Locking Ring Material |
Epoxy Painted Aluminum |
| Contact Carrier
Material |
Thermoset Polyester |
| Retainer Material |
Thermoset Polyester |
| Phase, Ground Sleeves
Material |
Brass. |
| Terminal Screw Material |
Stainless Steel (300 Series).
|
| Assembly Screw Material |
Stainless Steel (300 Series).
|
| Gaskets Material |
Solid Neoprene. |
| Gland Material |
Solid Neoprene. |
| Sealing Gasket Material |
Neoprene. |
| Cord Clamp Material |
Rynite SST35 |
| Clamp Nut Material |
Nickel-Plated Brass |
| Gland Cap Material |
Rynite SST35 |
| Gland Clamp Screws
Material |
Stainless Steel (300 Series)
|
| Cord Clamp Screws
Material |
Stainless Steel (300 Series)
|
| Dielectric Withstand
Voltage |
3000V AC |
| Current Interrupting |
Certified for current
interrupting at full rated current. |
| Temperature Rise |
Max. 30°C temperature rise at
full rated current after 50 cycles of overload at 150% of rated
current. |
| Endurance |
1,000 connect and disconnect
cycles at full current and voltage |
| Impact Resistance |
Per CSA C22.2, No. 182.1,
Paragraph 7.4.2 UL 1682 Section 34 |
| Cord Grip Cable
Retention |
Per CSA C22.2 No. 182.1,
Paragraph 7.3.1 to 7.3.4., UL 1682 Section 33 |
| Cord Accommodation |
Round portable service cords of
diameters commensurate with the device rating as defined in UL
Standard 62, CSA C22.2 No. 49 and the harmonized European
Standards. |
| Terminal Identification |
Terminals identified in
accordance with UL 1682 (1, 2, 3, Green) |
| Product Identification |
Identification and ratings are
a permanently fastened to the device housing |
| Moisture Resistance |
Type 3, 4, 4X per UL 50 and CSA
22.2, No. 94 |
| Flammability |
V0 per UL 94 or CSA C22.2 No.
0.6 |
| Operating Temperatures |
Maximum Continuous 75 deg C
Minimum -40 deg C w/o impact, -25 deg C w/ impact.
|
| Certifications |
| UL Listed, UL Standard 1682, UL 50, and UL
1010 (plugs only) CSA Certified to CSA Spec. C22.2 No. 182.1, No. 94
and No. 159 (plugs only) UL Listed, CSA Certified Type 4X.
|
| Watertight Application Guide |
| Industry |
Watertight |
| Agriculture |
Outdoor for fans, heaters, pumps, etc. |
| Chemical Processing |
Where subject to water, corrosion and rough use. |
| Construction |
Outdoors subject to severe weather conditions. |
| Entertainment |
Outdoors subject to severe weather. |
| Food Processing |
Where subject to water, corrosion and rough use. |
| Food Service |
Areas subject to wash downs & heavy cleaning. |
| Light Manufacturing |
Subjected to cleaning, solvents & chemicals. |
| Manufacturing |
Where subject to water, corrosion and rough use (i.e.,
mills). |
| Military |
Outdoor construction or maintenance subject to severe
weather. | |
|